|
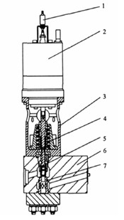
在電磁先導閥(圖1) 電磁頭不通電的情況下(電磁頭無輸出力) , 彈簧的作用力作用在閥桿上,閥桿將閥芯壓緊在閥座上并保持密封。當電磁頭通電產生提升力, 克服彈簧的力, 將閥桿提起, 閥芯脫離閥座, 系統介質排放。
1、 閥位指示器 2、電磁頭 3、軛架 4、彈簧 5、閥桿閥芯組建 6、閥體 7、閥座 |

|
先導式電磁閥常見故障
1、閥芯上部銷孔磨損, 銷孔內側有較為明顯的被磨壓形成的凹槽, 微觀形貌可見有磨屑磨粒及較短的劃痕等特征, 磨痕邊緣為擠壓輾平的金屬磨屑形態。閥芯內腔底部與調節螺釘接觸處, 可見有明顯的磨損痕跡, 靠中間位置形成一圓形的凹坑, 微觀形貌可見有剝落及腐蝕微孔等顯微特性。 2、閥桿僅外圓表面有局部磨損, 存在部分剝落現象, 局部區域留下了與軸向基本平行的溝槽特征,可認為該閥芯與閥桿間存在周向相對運動。 3、銷釘兩端有明顯的磨損及溝槽, 表面有可見剝落及較短的劃痕等顯微特性。
先導式電磁閥原因分析
經檢測, 閥芯、閥桿、調節螺釘和銷釘材料的化學成分均與設計技術要求一致。硬度測試結果顯示, 調節螺釘的硬度約為280HV , 閥芯硬度約為440HV , 閥桿硬度約為500HV , 銷釘硬度約為550HV。分析確定, 閥門開啟時閥芯等組件沿軸向產生微小振動及周向的相對微小轉動, 造成了銷釘、閥芯銷孔處以及閥桿外表面的局部磨損。對于調整螺釘的螺紋部位而言, 宏觀分析及微觀分析表明, 該部位主要為接觸疲勞引起的失效。由于螺紋連接部位存在一定的間隙, 在接觸應力以及泄漏引起的振動荷載作用下, 金屬表面的直接接觸以及相對的運動, 使硬度相對較低的螺桿螺紋表面產生剝落(能譜分析結果表明磨損表面發生了金屬的遷移) 。剝落的磨屑及基體脫落的粒子又使表面產生了磨料磨損, 同時兼有腐蝕磨損等, 導致了螺紋部的失效。由金相分析可知, 螺紋部的外表層存在較明顯的形變流變痕跡, 表明該螺紋部位存在較大的應力作用。調節螺釘螺紋處的腐蝕麻點及腐蝕斑, 加上先導閥長期開啟后, 其電磁頭保持帶電產生磁性, 引起調節螺釘和閥桿材料之間電極電位存在差異, 使調節螺釘螺紋處與閥桿之間的電化學腐蝕作用加速了螺紋處的失效。對于調節螺釘下端頂部而言, 由于閥芯與調節螺釘電極電位存在差異, 導致閥芯產生電化學腐蝕引起表面粗糙以及接觸強度下降, 因而導致調節螺釘下端頂部與閥芯接觸面產生粘著磨損(能譜分析中也可看出磨損面上產生的金屬遷移) , 隨著泄漏引起的軸向振動載荷以及周向轉動載荷的不斷作用, 較軟的螺釘頂部將隨著粘著磨損的進行不斷削平, 最終導致螺桿接觸端面的失效。部件的失效分析表明, 失效不是由于單向高載荷引起的, 而是一種循環載荷(如振動) 現象。
先導式電磁閥改進措施
為了消除閥芯組件的振動問題, 其有效的方法就是在先導閥處于開啟狀態時, 消除閥芯的自由活動性。因此對閥芯組件做了改進。 ①取消閥桿的上密封, 將閥芯的筒體長度增加, 以閥芯與閥桿套筒控制閥門的行程。 ②取消調節螺釘, 不再通過調節螺釘來調節閥門的行程, 避免材料不同引起電極電位差導致的電化學腐蝕。閥桿加長, 頂部呈圓頭, 材料仍采用Inconel , 與閥芯材料接近。 ③銷釘直徑由Φ3mm 增加到Φ5mm , 提高了強度, 以便在閥門處于開啟狀態下將閥桿的力傳遞到閥芯上, 將閥芯的上密封壓緊在閥桿套筒上, 防止閥門開啟后閥芯在蒸汽流的情況下發生振動。閥門的行程則通過閥芯的筒體長度來調整, 在先導閥組裝初期, 通過加工閥芯的倒密封端來控制行程, 并控制先導閥的行程為負偏差, 閥芯和閥座密封面研磨后, 其行程取正偏差, 這樣即使閥芯和閥座密封面多次研磨后也能保證先導閥的行程在允許誤差范圍內。閥芯組件改進后, 通過熱態試驗臺架對一個新結構的先導閥進行了500 次的開關排放試驗。試驗完成后, 對閥芯組件進行了解體檢查, 未發現振動造成的磨痕。又經現場實際運行3 個月后解體檢查, 先導閥狀態良好, 未發現閥芯部件存在磨痕, 證明已經消除了電磁先導閥不能長時間開啟的缺陷。
|